
Is it Possible to Apply Positive in Favor/+ Physically Newton's Third Law of Motion as a Dynamic Cycle System in a Motor Device in a + Plus Way?
3rd Thermodynamic Law Applicate in a Power-Plant Device. The Reaction at From of the Action. New Torque Power. It’s a simple Plus Formula of the Interaction of the Two Powers: 1/Action, + 2/Reaction = Retrodynamic. / For every action there is an equal and opposite reaction. 2 Forces in 1 System.
RETRODYNAMIC Effect - Dextrogiro/Action => vs <= Levogiro/Reaction Phenomena Effect. / Rotor/RPM VS InFlow/Way. 3d Thermodynamic Law Applicate in a Power-Plant Device. The Reaction at Front of the Action. New Torque Power. It’s a simple Plus Formula of the Interaction of the Two Powers: 1/Action, + 2/Reaction = Retrodynamic.
"Changing rotation inside a mass makes it possible to change its inertial properties. It is the equation for a jet motion without rejection of any mass.” Albert Einstein.
The logic of creation of an inertial propulsion system is thus: Any motion is rotation ---- Rotation of a matter generates a space-time Torsion ---Torsion of space - time is described by Ricci torsion --- Ricci torsion is an inertial field-----the rest mass of any object is determined by its inertial field---- operating by fields and forces of inertia inside of mass we can create inertial propulsion system which moves according to the equation [m (t) dv/dt =-vdm/dt].
Newton's Third Law of Motion: III. For every action there is an equal and opposite reaction.
It is the sum of both (two) Forces - one to other / Are two Forces in one system.
The formula of the Retrodinamic effect is a simple mathematical summation. What is Dextrogiro plus Levogiro, gives the result of the sum, of what is the total, which is the retrodynamic effect. But keeps doing Exponential.
Retrodynamic Effect, are two Forces Actives in one system.
It's like when the Star Trek Enterprise Spaceship Accelerates into the depth of space but spinning 2Two Opposites Forces (Like the Ying-Yang Concept) on a Central Axis in a Rotary Manner Way.
http://stateoftheartnovelinflowtech.blogspot.com
https://padlet.com/gearturbine/un2slbar3s94

*
“A rotor spinning one Way/DesxtroGiro, and the inside rotor flow Goes VS in the other at front against contrary/LevoGiro"
But the Blades (with the Gear) move in favor at that circumstances. Thats why is possible. The Interaction of two forces to make One.
That Particular Mechanics Technique Goes increasing Two forces in One: Force1/Rotor-DextroGiro VS Force2/inFlow-LevoGiro. front to Front = Retrodynamic.
*
·RETRODYNAMIC Effect / Some Points of View:
I always explain it well, but another thing is that you don't understand it.
As if it were an everyday question.
And they don't take it as a disruption, which changes schemes.
Because they really wouldn't even know about it. Being a subject that nobody has ever really dealt with.
*
And also to you can see it as an encrypted information.
And I know the best translator, for sure.
And they don't take it as a disruption, which changes schemes.
Because they really wouldn't even know about it. Being a subject that nobody has ever really dealt with.
But the concept it's a simple sum, then keep going to increase the phenomenal interaction.
Let me make a simple caparison: One Turn is One step, OK, Well in this particular case.
When you do One Turn is One Step, And Then is another turn are gone to be Two Steps.
And in the next turn are gone to be Four steps, And the next Turn are gone to be 8 Steps. Etc...
Really too to be able to explain it, needs to invent a new Mathematical Signal. Brand New.
I Tell You. It’s Like That.
*
I'm going to explain them perfectly well. We are going to make a comparison that each turn of the Rotor (applied in my case/Gearturbine) is a Step. It's fine. And So now when the rotor rotates with the power of the mechanical drive (Action). And furthermore, it has the internal flow contrary to its rotation (Reaction), but in favor of the individual blade attached to the gear with planetary rotation that activates the Rotor. In such a case they are two forces in a single system.
*
Maybe it doesn't have the best translation, but that's something else, that's not the point. But that would in no way be something that could belittle his qualities and technical virtues. And at the end of the day, all the explanations you can have are in the operation of the system. And this could not be easier to appreciate, Summed up in a simple sum. And in this case of 2Two Forces: 1Action + 2Reaction Applied in a single cycle, and thus also a single system.
·A) 1Action VS/+ 2Reaction = ?
·B) 1DestroGiro VS/+ 2Levogiro = ?
·C)1Rotary Move VS/+ 2InFlow Way = ?
Note: ·I use the "VS" Because the dynamic interaction is front to front, that's why.
·And is Added force one to the other, that's why I use the Sume/Plus mathematical symbol.
·A, B, and C are the same situation with a different word, from a different, technical view.
Other Note: If somebody doesn't understand Cut be because of some reason. Not because my responsibility.
*
I deal with the Requirements of a new mathematical symbol, in order to explain the Retrodynamic Phenomenon Effect, that occurs in an invention that I am developing. It is called the "Retrodynamic Effect" and it is created by having a situation of an axis turning in the opposite direction in a rotating system and in this way a great force is created. And there is currently no mathematical symbol that can explain it.
*
The Mathematical/Physical Symbol. What is required for the Explanation and Application in the Formula of the Retrodynamic Effect. Which has the quality of being applied in the Gear Turbine Project. What would it be to join the Symbols of ·1- (+) Addition and ·2- (X) Multiplication. It would be a Symbol with 8 Eight Points: 4 four of the symbol of + addition and four of the symbol of X multiplication. This is because it is a sum that continues to repeat the 2 Two forces the Action/RightRotation and the Reaction/Levorotation. The 2 Two Forces uniting, increasing each other into one. And is called “MULTIPLUS”. And in this way increasing its Power considerably. a sum that is multiplied and/or a multiplication that is added. When Active of the Rotor/action of the system and the internal flow/reaction that does it in the opposite way (in favor at the Blades circular move. Thats Why) applying in the individual vane connected next to its partner Gear internally fit in a planetary way internally in the casing, in this way. This is because that is how it works, they are the union and interaction of two forces face to face, front to front and therefore two symbols. DextroGiro and/or LevoGiro. Action And/or Reaction. + and/or X.

_______________________________________________________________
Latest InFlow Generation State of the Art Novel InFlow Tech: ·1-Gearturbine Reaction Turbine Rotary Turbo, ·2-Imploturbocompressor Impulse Turbine 1 Compression Step
·Wordpress Blog State of the Art Novel InFlow Gearturbine Imploturbocompressor:
http://stateoftheartnovelinflowtech.blogspot.com
https://padlet.com/gearturbine/un2slbar3s94



*1-GEARTURBINE PROJECT,
Reaction-Turbine System Type,
Rotary-Turbo-InFlow Tech,
Atypical InFlow Thermodynamic,
Technology Proposal Submission,
Novel Fueled Motor Engine Type:


·State of the art Innovative concept Top system Higher efficient percent.*Power by bar, for Air-Planes, Sea-Boats, Land-Transport & Dynamic Power-Plant Generation.
-Have similar system of the Aeolipilie Heron Steam device from Alexandria 10-70 AD. -New Form-Function Motor-Engine Device. Next Step, Epic Design Change, Broken-Seal Revelation. -Desirable Power-Plant Innovation. Next trend wave toward global technological coming change.


-YouTube; * Atypical New • GEARTURBINE / Retrodynamic = DextroRPM VS LevoInFlow + Ying Yang Thrust Way Type - Non Waste Looses
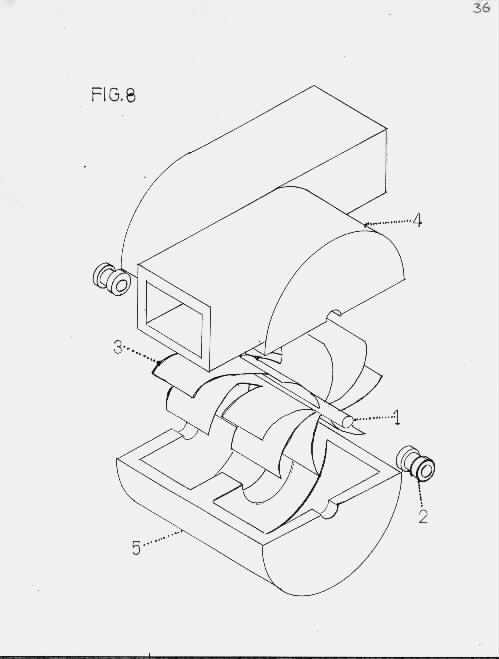
The present invention relates to a compression and pushing motor characterized in that it is composed of a housing, said housing accommodates a rotor rotating in its internal space supported by a pair of gears whose passage coincides with the inner surface of the rotor; A rotor (or core) that internally has flow ducts presented one in reverse of another, balanced these, begin at the point where they end; Has several cavity points for reaction turbines, as well as two combustion chambers isolated by means of a system of nozzles and presented in the manner of poles, that is on opposite sides of one another, but their flow with the same circular direction of the rotor when It rotates; The rotor also has several fluid conduits radially presented; A hollow power transmission rod arranged and traversing in the center of the rotor, which in its interior flows the lubricant and fuel with movement of the ends towards the center, at this point by means of the centrifugal force of the rotor reaches the required parts; In the bar is arranged an air intake fan which by rotating the rotor suction air and introduces it to the internal ducts of the rotor with an initial compression, next to this fan is a current collector that generates the necessary electricity and Together with a coil, activates the current necessary for combustion; A center of the nucleus in which the formation of the internal ducts of the rotor begins and ends (in and out); Said center of the core has arranged a pair of semi-cylindrical cavities housing two pairs of turbochargers said core of the core is diagonally traversed by fluid conduits exiting from the bar to the combustion bed and lubrication points and by the centrifugal force of the rotation Of the rotor sends the fluids to the required points due to their radial direction; Exhaust blades are the point of exit of the exhaust gases that leave the internal ducts of the rotor and contrareaccional with the fixed blade in the last point of use of propulsion of the motor; Two combustion chambers contained in the rotor's strong ducts when the parts forming it are joined, said chambers have their flame in front of the thrust blade, which is connected by a common shaft to a gear located on the outside of the rotor and Coincides with the internal gear of the housing; A starter motor which by means of a gear engages the starter gear attached to the bar.
-This innovative concept consists of hull and core where are held all 8 Steps of the work-flow which make the concept functional. The core has several gears and turbines which are responsible for these 8 steps (5 of them are dedicated to the turbo stages). The first step is fuel compression, followed by 2 cold turbo levels. The fourth step is where the fuel starts burning – combustion stage, which creates thrust for the next, 5th step – thrust step, which provides power to the planetary gears and turbines and moves the system. This step is followed by two hot turbo steps and the circle is enclosed by the final 8th step – bigger turbine. All this motion in a retrodynamic circumstance effect, wich is plus higher RPM speed by self motion. The Reaction at front of the action.

·:8-X/Y Thermodynamic CYCLE - Way Steps
1)1-Compression / bigger
2)2-Turbo 1 cold
3)2-Turbo 2 cold
4)2-Combustion - circular motion flames / opposites
5)2-Thrust - single turbo & planetary gears / ying yang
6)2-Turbo 2 hot
7)2-Turbo 1 hot
8)1-Turbine / bigger

-With Retrodynamic Dextrogiro => vs <= Levogiro Phenomenon Effect. / Rotor-RPM VS InFlow / front to front; "Collision-Interaction Type" - inflow vs blades-gear-move. Technical unique dynamic innovative motion mode. [Retrodynamic Reaction = When the inflow have more velocity the rotor have more RPM Acceleration, with high (XY Position) Momentum] Which the internal flow (and rotor) duplicate its speed, when activated being in a rotor (and inflow) with [inverse] opposite Turns. The Reaction at front of the action. A very strong Novel torque power concept.
-Non waste parasitic looses for; friction, cooling, lubrication & combustion.
-Shape-Mass + Rotary-Motion = Inertia-Dynamic / Form-Function Wide [Flat] Cylindrical shape + positive dynamic rotary mass = continue Inertia positive tendency motion. Kinetic Rotating Mass. Tendency of matter to continue to move. Like a Free-Wheel.
-Combustion 2Two continue circular [Rockets] flames. [ying yang] opposite one to the other. – With 2TWO very long distance INFLOW [inside propulsion] CONDUITS. -4 IMPLOTURBOS Rotary Total Thrust-Power Regeneration Power System. -Mechanical direct 2two [Small] Planetary Gears at polar position. -Like the Ying Yang Symbol/Concept.
-The Mechanical Gear Power Thrust Point Wide out the Rotor circumference were have much more lever [HIGH Torque] POWER THRUST. -No blade erosion by sand & very low heat target signature profile. -3 points of power thrust; 1-flow way, 2-gear, 3-turbine. *Patent; Dic. 1991 IMPI Mexico #197187 All Rights Reserved. Carlos Barrera.




_______________________________________________________________




·2-IMPLOTURBOCOMPRESSOR; Impulse-Turbine System Type, Implo-Ducted, One Moving Part System Excellence Design - The InFlow Interaction comes from Macro-Flow and goes to Micro-Flow by Implossion - Only One Compression Step; Inflow, Compression and outflow at one simple circular dynamic motion Concept.
·“Excellence in Design" because is only one moving part. Only one unique compression step. Inflow and out flow at the same one system, This invention by its nature a logic and simple conception in the dynamics flow mechanics area. The invention is a wing made of one piece in a rotating motion, contained in a pair cavity system connected by implocavity, and interacting dynamically with a flow, that passes internally "Imploded" through its simple mechanism. This flow can be gas (air) or liquid (water). And have two different applications, in two different form-function; this one can be received (using the dynamic flow passage, as a receiver). Or it can be generated (with a power plant, generating a propulsion).
An example cut be, as a Bike needs a chain to work from motor to wheel. And for the Imploturbocompressor application, cut be as; in a circumstance at the engine, as an A-activate flow, and with a a tube flow conduit going to the wheel as a B-receiving-flow the work use.
To see a Imploturbocompressor animation, is possible on a simple easy way, just to check the similar Hurricane Eye Satellite view, and is the same imploinflow way Simple nature.
And when the flow that is received and that is intended to be used at best, must no necessarily by a exhausting or rejection gas, but must be a dynamic passing gas or liquid flow with the only intention to count it or to measure it. This could be possible at the passing and interacting period when it passes inside its simple mechanism. This can be in any point of the work flow trajectory.
In case the flow that is received is a water falling by gravity, the Imploturbocompressor can profit an be obtained by generating? electricity such as obtained by the pelton well, like I say before. The "Imploturbocompressor", is a good option to pump water, or a gas flow, and all kinds of pipes lines dynamic moves.
Or only receive the air-liquid flow, in order to measure its passage with a counter placed on the bar, because when this flow passes through the simple mechanism of a rotating wing made of only one piece it interacts within the implocavities system. And this flow can be air wind, with the difference of can have an horizontal work position, and that particle technical circumstances make an easy way for urban building work new use application, and have wind flow from all the sides 180 grades view. The aforementioned information about this invention refers to technical applications, such as a dynamic flow receiver. (whether being gas or liquid).
With the appropriate power plant and the appropriate dimensioning and number of RPM this invention is also feasible to generate an atmospheric air propulsion and the auto-propulsion of an aircraft. Being an effective and very simple system that implodes and compresses the atmospheric air permits the creation of a new concept of propulsion for aircrafts, due to its simple mechanism and innovative nature. At the place of the aircraft were the system appears and the manner how the propulsion direction can be oriented with a vectorial flow (no lobster tail) with I call "yo-yo system" (middle cut (at the shell) to move, one side loose), guided and balanced is feasible to create a new concept of TOVL-vertical take-off landing, Because the exhaust propulsion can going out radial in all the 360 vectorial positions, going out direct all the time in all the vectors direction. With his rotor cover for a better furtive fly, like going down of a bridge for example. Likewise, with the due form and dimensioning, and considering the liquid density and the due revolutions for this element there could be generated a propulsion (water) in order to move an aquatic ship, whether on surface or under water. Also can be a good option to pump liquid combustion for a rocket propulsion.
Making a metaphoric comparison with the intention to expose it more clearly for a better comprehension of this innovative technical detail, it would be similar to the trajectory and motion of a dynamic flow compared with a rope (extended) that passes through the system would have now a knot (without obstructing the flow), so the complete way of the flow at the imploturbocompresor system have three direct ways and between make two different turns; direct way (entrance) - turn - direct way (implocavity) - turn - direct way (exit), all this in a 1 simple circular move system concept.
Its prudent to mention that the curves and the inclinations of the blades of a rotating wing made of this invention, is conferred by its shape and function a structural rigidity allowing it to conduct and alter appropriately the dynamic flow passing through its system.




_______________________________________________________________
State of the Art Novel InFlow Tech Power-Plant Generator Self-Feed Unit H2O=>HHO
State of the Art Novel InFlow Tech Space Satellite and Habitat Power-Plant Generator - Self-Feed Unit; H2O=>HHO=>H2O=>HHO 4 Systems All in One Unit
+PLUS; *State of the Art, Novel Technology, Featured Project Development / Space, Satellite and Habitat, Power-Plant, Generator, Self-Feed Unit; H2O=>HHO=>H2O=>HHO=>Etc... *4 Systems All in One Unit, One By One, Plus Four-4 Projects added One to Other; *·1-Gearturbine, ·2-Imploturbocompressor, ·3-Dynamic Generator, ·4-Electrolysis System:
·1-GEARTURBINE; Reaction Turbine, Rotary-Turbo-InFlow Tech,Have the similar basic system of the Aeolipilie Heron Steam Turbine device from Alexandria 10-70 AD * With Retrodynamic = DextroRPM VS LevoInFlow + Ying Yang Way Power Type - Non Waste Loses *8X/Y Thermodynamic CYCLE Way Steps. 4 Turbos, Higher efficient percent. No blade erosion by sand & very low heat target signature Pat:197187IMPI MX Dic1991 Atypical Motor Engine Type.
·2-IMPLOTURBOCOMPRESSOR; Impulse Turbine, Implo-Ducted, One Moving Part System Excellence Design - The InFlow Interaction comes from Macro-Flow and goes to Micro-Flow by Implosion - Only One Compression Step; Inflow, Compression and outflow at one simple circular dynamic motion / New Concept. To see a Imploturbocompressor animation, is possible on a simple way, just to check a Hurricane Satellite view, and is the same implo inflow way nature.
·Note;Plus-this-Two Projects to complete all the System Work/Self-Feed Unit Space Power-Plant-H2O=>HHO.
·3-Dynamic Generator/New Kind.
·4-Electrolysis System/BioDesign.
*(3&4-Hide-Cards-on-the-Hand).
Carlos Barrera
Discussions
Become a Hackaday.io Member
Create an account to leave a comment. Already have an account? Log In.