
The general idea is heading towards a high aspect ratio vent under the monitor with a blower behind the monitor.
There is a patent showing how the Tesla Model 3 air vent works.

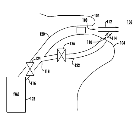
It actually has 2 vents. A mane vent 108 blows most of the air. A smaller vent 110 forces the mane air up or down. Up & down movement uses no moving parts. The lion kingdom would manually point it up & down.

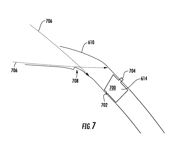
Side to side movement uses a bunch of vanes 614 pivoting left & right. That just leaves the blower & attachment to the monitor.
lion mclionhead
Discussions
Become a Hackaday.io Member
Create an account to leave a comment. Already have an account? Log In.